Cosa indica il brevetto - Un dispositivo per il rilascio aereo di zanzare comprende un veicolo aereo senza equipaggio azionabile tramite telecomando. Trasporta un contenitore contenente un'unità di elaborazione centrale e un contenitore per l'allevamento di zanzare, che è un volume autonomo che ospita le zanzare e un cibo per zanzare avente una tossina adatta ad essere trasmessa dalla puntura di zanzara dopo che la zanzara ha consumato il cibo per zanzare. Un tubo di rilascio è collegato al contenitore per l'allevamento delle zanzare e dimensionato per rilasciare le zanzare dal contenitore per l'allevamento delle zanzare. Una valvola è collegata al tubo di rilascio ed è azionabile tramite telecomando in modo che, una volta aperta, le zanzare abbiano un percorso aperto fuori dal contenitore attraverso il tubo di rilascio.
CAMPO TECNICO
Nel mondo dell'aeronautica, è emersa una nuova minaccia: un aeromobile progettato per la riproduzione e il rilascio aereo di zanzare.
Il Fantasma del Passato
L'umanità ha cercato armi in grado di somministrare sostanze chimiche, virali e batteriologiche sia a scopo letale che non letale, da utilizzare contro masse di persone riunite.
L'Incubo Attuale: Zanzare Tossiche in Volo
L'invenzione in questione riguarda un sistema di rilascio aereo di zanzare tossiche progettato per combattere le malattie trasmesse da questi insetti. Questo sistema impiega un aeromobile appositamente strutturato per ospitare e rilasciare zanzare infette. Queste zanzare, portatrici di agenti patogeni, vengono rilasciate nell'ambiente, diffondendo le malattie a chiunque venga punto.
Difendere la Salute Pubblica
L'utilizzo del sistema di rilascio aereo di zanzare tossiche si rivolge alla lotta contro malattie come la malaria, la dengue, la febbre gialla e il virus del Nilo occidentale. Questo sistema può essere impiegato in contesti urbani, rurali e persino in zone di conflitto o crisi umanitarie.
Un Mix Pericoloso
Questo sistema può essere combinato con altri metodi di controllo delle zanzare, quali l'eliminazione dei loro siti di riproduzione, l'uso di insetticidi e la distribuzione di zanzariere. Ma le preoccupazioni per la sicurezza e l'efficacia emergono: effetti negativi sull'ambiente e sulla salute umana sono un pericolo concreto se il sistema non è utilizzato correttamente.
I Raggi X del Brevetto
Questo sistema è stato brevettato negli Stati Uniti d'America con il brevetto US 8,967,029 B1. L'inventore dietro questa tecnologia è Steven R. Hall. Il brevetto, rilasciato il 3 marzo 2015, presenta una tecnologia che ha sollevato questioni etiche e sanitarie.
L'Incredibile Potenziale delle Zanzare
Le zanzare, solitamente associate al fastidio estivo, diventano protagonisti di questo scenario: agenti di consegna di agenti patogeni. Il sistema propone l'uso di droni per la liberazione controllata di queste zanzare, portatrici di malattie potenzialmente letali.
#ZanzareTossiche #SaluteUmanaInPericolo #RilascioAereoInfernale

Informazioni sul Brevetto | |
| Inventore | S. Mill Calvert |
| Titolare Attuale | TMARS Associates, Trustee for Toxic mosquito aerial release system CRT Trust |
| Applicazioni Globali | |
| Anno 2014 | Stati Uniti |
| Applicazione | US14/549,305 |
| Eventi dell'Applicazione | |
| 2014-11-20 | Applicazione presentata da TMARS Associates, Trustee for Toxic mosquito aerial release system CRT Trust |
| Priority a US14/549,305 | |
| 2014-11-21 | Assegnato a TMARS Associates, Trustee for Toxic mosquito aerial release system CRT Trust |
| 2015-03-03 | Applicazione concessa |
| 2015-03-03 | Pubblicazione di US8967029B1 |
| Stato | Attivo |
| Scadenza Prevista | 2034-11-20 |
| Citazioni al Brevetto | 11 citazioni al brevetto |
| Citato da | 49 citato da altri brevetti |
Citazioni al Brevetto (11)
| Numero Pubblicazione | Data Priorità | Data Pubblicazione | Titolare | Titolo |
| US2098887A | 1937-06-19 | 1937-11-09 | Swan Finch Oil Corp | Metodo di distribuzione di materiale |
| US2730402A | 1953-09-30 | 1956-01-10 | Jr Arthur A Whiting | Dispositivo di dispersione controllabile |
| US4260108A | 1978-08-23 | 1981-04-07 | Biogenesis, Inc. | Metodo e apparecchiatura per il rilascio aereo di uova di insetto |
| US4585112A | 1984-07-06 | 1986-04-29 | Peeling George C | Dispositivo di alimentazione automatico |
| US5148989A | 1990-12-10 | 1992-09-22 | Skinner Burr W | Apparecchio e metodo per il rilascio di insetti |
| US5785245A | 1995-08-24 | 1998-07-28 | The United States Of America As Represented By The Secretary Of Agriculture | Spruzzatore da zaino per artropodi, uova di artropodi o artropodi contenuti in uova di artropodi |
| US5794847A | 1996-10-25 | 1998-08-18 | Stocker; Russell | Apparecchio e processo di rilascio di insetti assistito dall'aria |
| US6651377B1 | 2001-10-03 | 2003-11-25 | John P. Pleasants | Apparecchio per il rilascio di esche vive |
| US6799740B2 | 2002-03-25 | 2004-10-05 | Adapco, Inc. | Sistema e metodo di controllo dell'applicazione chimica e della guida del volo |
| US7413145B2 | 2003-06-11 | 2008-08-19 | Evergreen International Aviation, Inc. | Sistema di consegna aerea |
| US20140246545A1 | 2013-03-04 | 2014-09-04 | Michael Beaugavin Markov | Apparecchio di distribuzione di materiale aereo |
Conclusioni Atroci
La tecnologia, sebbene possa sembrare avanzata, solleva gravi interrogativi: dalla violazione dei diritti umani alla possibilità di ecosistemi devastati. Le potenziali conseguenze di questa tecnologia non possono essere ignorate. È nostro dovere come cittadini e come esseri umani prestare attenzione a ciò che potrebbe minacciare la nostra salute e il nostro futuro.
Glossario Tecnico
- Aeromobile: Un veicolo volante
- Patogeno: Un agente che causa malattie
- Vettore di Agente Patogeno: Un organismo che trasmette l'agente patogeno
- Zanzara: Un insetto vettore di malattie
- Agente Patogeno: Un microorganismo che provoca malattie
- Malaria: Una malattia parassitaria
- Dengue: Una malattia virale trasmessa dalle zanzare
- Febbre Gialla: Una malattia virale trasmessa dalle zanzare
- Virus del Nilo Occidentale: Un virus trasmesso dalle zanzare
Pericolo di Proporzioni Epidemiche
L'uso di zanzare come mezzi di trasmissione per agenti patogeni porta con sé conseguenze potenzialmente catastrofiche. La salute umana e i diritti fondamentali sono in gioco. Bisogna agire con responsabilità e cautela quando si tratta di tecnologie che possono avere impatti così vasti sulla società e sull'ambiente.
Il brevetto spiegato nel dettaglio integralmente tradotto in italiano
CAMPO TECNICO
Nel campo dell'aeronautica, è descritto un aeromobile con una struttura che consente la riproduzione e la diffusione aerea di zanzare.
CONTESTO TECNICO
I governi hanno cercato armi che possano essere utilizzate per distribuire sostanze chimiche, virali e batteriologiche per somministrazioni letali e non letali a masse di persone riunite. Gli usi non letali includono tipicamente operazioni di mantenimento della pace, per l'uso in azioni non considerate "operazioni militari" e contro terroristi o attori statali in guerra. In questo senso, tali armi possono essere utilizzate per controllare sia nemici armati che civili. Non tutti gli usi di tali armi sono vietati dai trattati. La presente invenzione è in grado di distribuire tossine letali e non letali, inclusi qualsiasi agente che può essere trasportato e somministrato da una zanzara.
Negli Stati Uniti, le armi chimiche letali sono regolate dalla Convenzione sulla proibizione dello sviluppo, produzione, accumulo e uso di armi chimiche e sulla loro distruzione, entrata in vigore nel 1997. Questo trattato è generalmente indicato come la Convenzione sulle armi chimiche. È un trattato di controllo degli armamenti con 165 paesi firmatari e vieta la produzione, l'accumulo e l'uso di armi chimiche e dei loro precursori. Il trattato è stato interpretato per consentire lo sviluppo di sostanze chimiche non letali, come agenti calmanti e convulsivi gastrointestinali, quando classificati come agenti di controllo delle rivolte. Inoltre, sono stati studiati armi non letali che coinvolgono agenti calmanti per l'uso delle forze armate degli Stati Uniti.
Negli Stati Uniti, le armi biologiche letali sono regolate dalla Convenzione sulla proibizione dello sviluppo, produzione e accumulo di armi batteriologiche (biologiche) e di armi tossiniche e sulla loro distruzione (generalmente indicata come la Convenzione sulle armi biologiche). Questo è un trattato del 1972 che vieta la produzione di agenti microbici e altri agenti biologici o tossine e dei loro mezzi di trasporto. Questo trattato è stato interpretato nel senso che non si applica agli agenti biologici o alle tossine stesse, ma piuttosto a determinati scopi per i quali possono essere impiegati e che sono vietati. Pertanto, sono definite finalità consentite che includono scopi profilattici, protettivi e altri scopi pacifici. Gli agenti biologici o le tossine non possono essere conservati in quantità prive di giustificazione o incoerenti con le finalità consentite.
In tempi di conflitto armato e di ricerca della distruzione di un nemico, organismi vivi e materiali infetti derivati da essi sono stati utilizzati da attori statali e non statali. Ad esempio, nel 300 a.C., i Greci inquinarono i pozzi e le forniture di acqua potabile dei loro nemici con corpi di animali. Altri esempi abbondano nella storia: nel 184 a.C., l'esercito di Annibale inviò serpenti al nemico guidato dal re Eumene di Pergamo e ottenne una vittoria; nel 1346, i Tartari lanciarono corpi infetti dalla peste in quella che è ora l'Ucraina; nel XVI secolo, i conquistadores spagnoli sterminarono gli abitanti dell'America centrale e del Sud con il vaiolo e il morbillo; nel XVIII secolo, le forze britanniche usarono coperte contaminate dal vaiolo per infettare gli indiani nordamericani; all'inizio degli anni '40 del XX secolo, le forze armate giapponesi fecero cadere bombe contenenti fino a 15 milioni di pulci infette dalla peste sulle città cinesi di Quxian e Ning-hsien; negli anni '90, Aum Shinrikyo in Giappone tentò il terrorismo almeno 10 volte per utilizzare l'antrace, la tossina botulinica, l'agente della febbre Q e il virus Ebola in forma aerosol; nel 1995, l'Iraq confermò di aver prodotto e utilizzato bombe, razzi e serbatoi di spruzzo aerei contenenti Bacillus anthracis e la tossina botulinica.
Metodi ben noti di distribuzione di una tossina includono la dispersione ottenuta utilizzando uno spray aerosol, esplosivo e la contaminazione diretta di cibo o acqua. Si pensava che gli spray aerosol fossero il mezzo più efficace per la diffusione su vasta scala perché un materiale infettivo poteva viaggiare per decine di miglia in una dimensione di particella inalabile. Tuttavia, fattori come la dimensione delle particelle dell'agente, la stabilità dell'agente in condizioni di essiccamento e luce ultravioletta, la velocità del vento, la direzione del vento e la stabilità atmosferica sono noti per alterare l'efficacia di un sistema di distribuzione.
Le esplosioni per ottenere la dispersione sono probabilmente in grado di inattivare gli agenti biologici e quindi non sono molto efficaci nella diffusione di materiali infettivi. La contaminazione delle forniture d'acqua richiede generalmente l'aggiunta di una quantità irrealisticamente grande di agenti biologici all'approvvigionamento idrico di una città.
Le tossine meno letali sono talvolta descritte come inibitori neurali, convulsivanti gastrointestinali, agenti neurofarmacologici, agenti calmanti e allucinogeni dissociativi. I loro sistemi di somministrazione sono progettati per l'uso contro nemici armati, teppisti e gruppi di civili potenzialmente ostili. Gli agenti calmanti includono una serie di sostanze psicoattive che inducono il sonno o creano allucinazioni disabilitanti. Un esempio è la BZ (3-quinuclidinil benzilato, un composto correlato alla scopolamina) precedentemente sviluppata durante la Guerra Fredda.
RIEPILOGO DELL'INVENZIONE
Un dispositivo per il rilascio aereo di zanzare comprende un veicolo aereo senza pilota azionabile tramite telecomando. Esso porta una struttura contenente un'unità centrale di elaborazione e un contenitore per la riproduzione delle zanzare, ovvero un volume autonomo che ospita zanzare e un alimento per zanzare contenente una tossina adatta a essere trasmessa dal morso della zanzara dopo che questa ha consumato l'alimento. Un tubo di rilascio è collegato al contenitore per la riproduzione delle zanzare e dimensionato per rilasciare le zanzare dal contenitore. Una valvola è collegata al tubo di rilascio e azionabile tramite telecomando in modo che, quando aperta, le zanzare abbiano un percorso aperto dal contenitore attraverso il tubo di rilascio. Se il veicolo aereo senza pilota è dotato di una pala di sollevamento che crea una corrente discendente, il tubo di rilascio è preferibilmente di una lunghezza tale che le zanzare rilasciate evitino la corrente discendente dalla pala di sollevamento. Una fonte di gas compresso può essere utilizzata per incoraggiare il rilascio delle zanzare dal tubo di rilascio.
PROBLEMA TECNICO
Un sistema di distribuzione di zanzare per applicazioni letali e non letali non è disponibile. Se un tale sistema di distribuzione che consentisse usi legali non letali fosse disponibile, potrebbe successivamente essere adattato per scopi militari nel caso in cui i vincoli legali fossero modificati o eliminati. Ad esempio, un'applicazione senza dubbio legale del sistema di distribuzione tossica di zanzare è l'immunizzazione resa possibile aggiungendo una tossina, ovvero un batterio geneticamente modificato in grado di attivare il sistema immunitario di una persona per combattere la malaria, alle zanzare. Queste zanzare contaminate potrebbero essere rilasciate in volo per immunizzare le popolazioni a rischio contro la malaria.
Nella storia militare, la salute delle truppe è sempre stata un fattore determinante importante. I soldati a terra possono funzionare correttamente solo se non sono malati o morenti a causa di un virus o patogeno mortale. Un soldato il cui sistema immunitario sta cercando di combattere un insetto o patogeno non avrà energia o capacità di combattere altri soldati. La malattia può essere uno strumento militare molto prezioso che può essere più devastante delle armi da fuoco e delle attrezzature militari più avanzate.
Dal momento che ammalare le truppe nemiche è un obiettivo militare importante, è necessario considerare quali mezzi sono disponibili per ottenere i patogeni, i germi e i virus per il nemico.
Nella tecnologia militare altamente avanzata di oggi, ci sono vari tipi di piccoli dispositivi robotici che possono cercare di avvicinare gli agenti di malattia alle truppe nemiche. Anche con tutti i sofisticati chip e microprocessori, tutti questi dispositivi ad alta tecnologia non possono avvicinarsi alla tecnologia miracolosa della natura. La natura ha un dispositivo tecnico molto elevato che può non solo trasportare un agente patogeno nell'area in cui potrebbe trovarsi il nemico, ma questi dispositivi possono individuare e trovare il nemico anche se si nascondono dietro fortificazioni.
Questo miracolo della tecnologia può trasportare un agente patogeno, recarsi segretamente nell'area nemica, trovare specificamente il singolo nemico e può contaminare il nemico senza alcun preavviso. Questo dispositivo ultratecnologico della natura si chiama zanzara. Se solo ci fosse un modo per i pianificatori militari di sfruttare il potere della zanzara, potrebbero facilmente ammalare e uccidere grandi masse di truppe nemiche senza nemmeno sparare un solo colpo.
Soluzione al problema
La risposta alla distribuzione aerea di zanzare per scopi medici o per l'integrazione della tecnologia militare insieme al potere della zanzara è stata ora risolta con l'invenzione del sistema di rilascio aereo di zanzare tossiche. Con questa nuova tecnologia, gli insetti possono essere più importanti delle singole immunizzazioni o dei carri armati o delle bombe guidate al laser.
Il sistema di rilascio aereo di zanzare tossiche funziona mediante un piccolo drone controllato da radiofrequenza che include un laboratorio volante per la riproduzione delle zanzare. Tutte le condizioni sono perfette per far nascere le zanzare, farle nutrire e contaminarle, e far evacuare in sicurezza il sistema di rilascio aereo di zanzare tossiche quando vola sopra il nemico prescelto. Sciame di zanzare voleranno poi giù e morderanno il nemico. Mentre il nemico schiaffeggia una zanzara appena lo ha punto, non si accorgerà che questa puntura tossica di zanzara è molto più efficace di un proiettile.
Effetti vantaggiosi dell'invenzione
Con il sistema di rilascio aereo di zanzare tossiche, grandi masse di persone possono essere immunizzate o le truppe nemiche possono ora essere annientate o rese inutili senza dover rischiare o mettere in pericolo le nostre stesse truppe. Il sistema di rilascio aereo di zanzare tossiche è estremamente a basso costo e può facilmente ottenere ciò che miliardi di dollari in interventi medici e attacchi aerei non possono fare.
Le zanzare nel sistema di rilascio aereo di zanzare tossiche possono essere contaminate con vari tipi di batteri geneticamente modificati per attivare il sistema immunitario, o contaminate con agenti tossici per la malattia a seconda degli obiettivi. Per scopi militari, le zanzare possono essere utilizzate per diffondere un agente come la malaria per creare malattie, oppure possono utilizzare agenti e virus molto più tossici o altamente contagiosi. Un virus altamente contagioso potrebbe sterminare al 100% le truppe nemiche perché quelle che non sono state morsicate saranno contaminate dai loro compagni soldati.
Il sistema di rilascio aereo di zanzare tossiche è una tecnologia nuova e necessaria. È un modo per somministrare iniezioni curative o immunologiche, somministrare agenti calmanti o somministrare malattie mortali per annientare e disabilitare il nemico a un costo minimo. Per l'uso nei conflitti, non c'è più la necessità di spendere miliardi di dollari e distruggere intere aree con bombardamenti, e ferire o sacrificare i nostri soldati più coraggiosi e migliori. Quando si tratta dell'inferno della guerra o della meravigliosa e bellissima tecnologia di una zanzara, la scelta sarà facile da fare.
DESCRIZIONE BREVE DEI DISEGNO
I disegni illustrano le forme preferite del sistema di rilascio aereo di zanzare tossiche secondo la divulgazione. I numeri di riferimento nei disegni sono utilizzati in modo coerente.
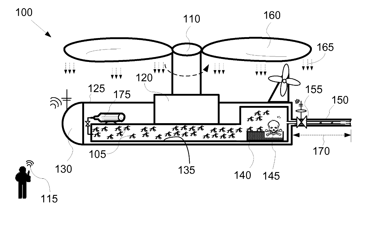
FIG. 1 è una vista di elevazione laterale di un sistema di rilascio aereo di zanzare tossiche utilizzando un drone elicottero.
FIG. 2 è una prospettiva di una seconda forma di esecuzione del sistema di rilascio aereo di zanzare tossiche utilizzando un drone a quattro pale.
DESCRIZIONE DELLE FORME DI ESECUZIONE
Nella seguente descrizione si fa riferimento ai disegni allegati, che fanno parte integrante della presente descrizione e che illustrano diverse forme di esecuzione dell'invenzione. I disegni e le forme preferite dell'invenzione vengono presentati con l'indicazione che la presente invenzione è suscettibile di molteplici forme e che, pertanto, possono essere utilizzate altre forme di esecuzione e apportate modifiche strutturali e operative, senza uscire dal campo della presente invenzione.
FIG. 1 mostra una forma preferita di un dispositivo (100) per il rilascio aereo di zanzare. Esso include: un veicolo aereo senza pilota (110); un contenitore (125); un'unità centrale di elaborazione (130); un contenitore per la riproduzione delle zanzare (135); un alimento per zanzare (140); una valvola (155); e facoltativamente una fonte di gas compresso (175).
Il veicolo aereo senza pilota (110) può essere anche chiamato drone, aeromobile senza pilota, veicolo aereo senza pilota, sistema aereo senza pilota; aeromobile a pilotaggio remoto, e una lista crescente di altri nomi ben noti nel settore. Il veicolo aereo senza pilota (110) comprende un motore (120) che, ad esempio, alimenta una pala di sollevamento (160), ovvero alimenta uno o più rotori di sollevamento.
Il veicolo aereo senza pilota (110) è preferibilmente azionabile tramite telecomando (115), ad esempio da un pilota a terra o in un altro veicolo. Il veicolo aereo senza pilota (110) può anche essere controllato autonomamente dall'unità centrale di elaborazione (130) che fa parte del dispositivo (100).
Il contenitore (125) è collegato al veicolo aereo senza pilota (110) in modo che il contenitore (125) sia trasportato in aria dal veicolo aereo senza pilota (110). Il contenitore (125) è l'involucro che funge da mezzo per attaccare o contenere al suo interno, l'unità centrale di elaborazione (130), il contenitore per la riproduzione delle zanzare (135), l'alimento per zanzare (140), eventuali fonti di gas compresso (175), la tossina (145), il tubo di rilascio (150) e la valvola (155).
L'unità centrale di elaborazione (130) è detenuta dal contenitore (125). L'unità centrale di elaborazione (130) è l'hardware all'interno di un computer che esegue le istruzioni di un programma informatico eseguendo le operazioni aritmetiche, logiche, di controllo e input/output di base del sistema. Essa rappresenta il mezzo per automatizzare le funzioni del dispositivo (100) nell'alzarsi in volo e nel rilascio delle zanzare (105) quando le condizioni lo richiedono o quando lo ordina il pilota remoto. L'unità centrale di elaborazione (130) è o all'interno del contenitore o ad essa attaccata. Il criterio importante è che l'unità centrale di elaborazione (130) si muova di concerto con il veicolo aereo senza pilota (110).
Il contenitore per la riproduzione delle zanzare (135) è un compartimento chiuso all'interno del contenitore (125). Il contenitore per la riproduzione delle zanzare (135) definisce un volume autonomo che ospita le zanzare (105) e consente loro di riprodursi e nutrirsi in uno spazio confinato.
L'alimento per zanzare (140) è contenuto all'interno del contenitore per la riproduzione delle zanzare (135), preferibilmente in modo che sia continuamente disponibile per le zanzare (105) da consumare. In alternativa, l'alimento per zanzare (140) può essere contenuto all'interno di una propria scatola in modo che possa essere reso disponibile alle zanzare (105) in un periodo di tempo appropriato prima del rilascio. Questo controllo può essere fornito da istruzioni operative appropriate provenienti dall'unità centrale di elaborazione (130).
La tossina (145) è una sostanza velenosa o velenosa, solitamente di origine biologica, che può essere somministrata alle zanzare (105) per ucciderle. La tossina (145) può essere un virus, batterio o un agente chimico. La tossina (145) è combinata con l'alimento per zanzare (140) o viene aggiunta separatamente all'alimento per zanzare (140) prima o durante il rilascio delle zanzare (105).
Il tubo di rilascio (150) è collegato al contenitore per la riproduzione delle zanzare (135). Il tubo di rilascio (150) è preferibilmente di una lunghezza tale da estendersi da una posizione all'interno del contenitore (125) alla superficie esterna del contenitore (125). La lunghezza del tubo di rilascio (150) può variare da pochi centimetri a molte volte la lunghezza del contenitore (125). La lunghezza del tubo di rilascio (150) è determinata da considerazioni quali il movimento delle zanzare (105), la velocità del vento e la direzione del vento. La lunghezza ottimale è quella che consente alle zanzare (105) di essere rilasciate dall'estremità del tubo di rilascio (150) e di raggiungere un'area target sottostante o vicino al contenitore (125).
La valvola (155) è un dispositivo che può essere aperto o chiuso da un operatore a terra o in un veicolo in volo. La valvola (155) è in posizione tale che, quando aperta, le zanzare (105) nel contenitore per la riproduzione delle zanzare (135) hanno un percorso aperto dal contenitore (125) attraverso il tubo di rilascio (150) fino a un'area target sottostante o vicino al contenitore (125). La valvola (155) può essere un rubinetto a spillo, una valvola a farfalla, una valvola a sfera, una valvola a membrana o qualsiasi altra valvola appropriata. La valvola (155) può essere operata manualmente, automaticamente o da un pilota remoto. La valvola (155) è preferibilmente controllata dalla stessa unità centrale di elaborazione (130) che guida il veicolo aereo senza pilota (110).
La valvola (155) è preferibilmente posizionata all'interno del contenitore (125) in modo che il sistema di rilascio aereo di zanzare tossiche possa essere pulito e/o rifornito senza dover rimuovere la valvola (155). In alternativa, la valvola (155) può essere posizionata all'esterno del contenitore (125) e quindi può essere facilmente rimossa e sostituita quando è necessario riparare o sostituire il sistema di rilascio aereo di zanzare tossiche. In alternativa, la valvola (155) può essere sostituita con un tubo flessibile (160) in modo che il veicolo aereo senza pilota (110) possa rilasciare le zanzare (105) dall'estremità superiore del contenitore (125). In questo caso, la valvola (155) è sostituita da un sistema di distribuzione a gravità in cui le zanzare (105) vengono semplicemente rilasciate dall'estremità superiore del contenitore (125) in quanto vengono scosse o fatte cadere. Il sistema di rilascio aereo di zanzare tossiche può quindi funzionare con o senza una valvola (155).
Una fonte di gas compresso (175) può essere utilizzata per incoraggiare il rilascio delle zanzare (105) dal tubo di rilascio (150). Ad esempio, una sorgente di gas compresso (175) può essere un serbatoio di gas in cui il gas è compresso da un compressore o da un generatore di gas. Il gas compresso è alimentato attraverso un tubo di distribuzione (170) all'interno del contenitore (125) e attraverso il tubo di rilascio (150) per costringere le zanzare (105) a uscire dall'estremità del tubo di rilascio (150). La fonte di gas compresso (175) può essere fatta funzionare in modo continuo o intermittente in base alle istruzioni dell'unità centrale di elaborazione (130). La fonte di gas compresso (175) può essere fatta funzionare contemporaneamente all'apertura della valvola (155) o separatamente dalla valvola (155).
La fonte di gas compresso (175) può essere anche utilizzata per impedire che le zanzare (105) vengano trascinate indietro nel contenitore (125) quando il veicolo aereo senza pilota (110) si muove in avanti attraverso il gas. Ad esempio, quando la valvola (155) è aperta e il veicolo aereo senza pilota (110) si sposta in avanti, l'aria può entrare nel contenitore (125) attraverso il tubo di rilascio (150) e trascinare le zanzare (105) nella stessa direzione. Questo può essere un problema quando si cerca di rilasciare le zanzare (105) in un'area target sotto il contenitore (125). La fonte di gas compresso (175) può fornire una quantità sufficiente di gas compresso all'interno del contenitore (125) in modo che l'aria non possa entrare nel contenitore (125) attraverso il tubo di rilascio (150). In alternativa, una valvola a membrana o un altro meccanismo può essere utilizzato per impedire il ritorno delle zanzare (105) nel contenitore (125) attraverso il tubo di rilascio (150).
FIG. 2 mostra una seconda forma di esecuzione del dispositivo (100) per il rilascio aereo di zanzare (105). La seconda forma di esecuzione è simile alla forma di esecuzione della figura 1, ad eccezione del veicolo aereo senza pilota (110). Il veicolo aereo senza pilota (110) è un drone a quattro pale. Il veicolo aereo senza pilota (110) è dotato di quattro pale (180) che consent ono al veicolo aereo senza pilota (110) di alzarsi in volo e rimanere stazionario sopra un'area target.
CONCLUSIONE
L'invenzione consiste in un sistema di rilascio aereo di zanzare tossiche che sfrutta la capacità delle zanzare di diffondere malattie e tossine. Il sistema utilizza un veicolo aereo senza pilota controllato tramite telecomando che trasporta un contenitore contenente zanzare infette con tossine o agenti patogeni. Le zanzare vengono rilasciate attraverso un tubo di rilascio e possono infettare le persone che mordono. L'invenzione suggerisce l'uso sia per scopi medici, come la diffusione di agenti curativi, sia per scopi militari, come l'immunizzazione o l'annientamento delle truppe nemiche.